56204R
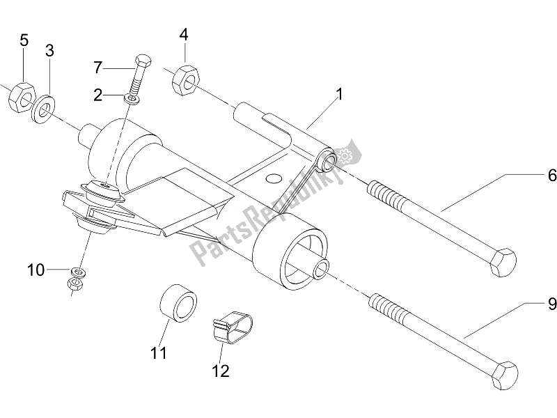
SWINGING ARM122781
Washer178790
FLAT WASHER002440
SELF LOCKING NUT M10265216
Nut m12x1,25 h=12,5261319
Nut m12x1,25 h=12,5271779
Schraube560045
Hex socket screw M10x80597914
HEX SOCKET SCREW709037
Washer 12,5x20x2562310
SPACER563321
Spring