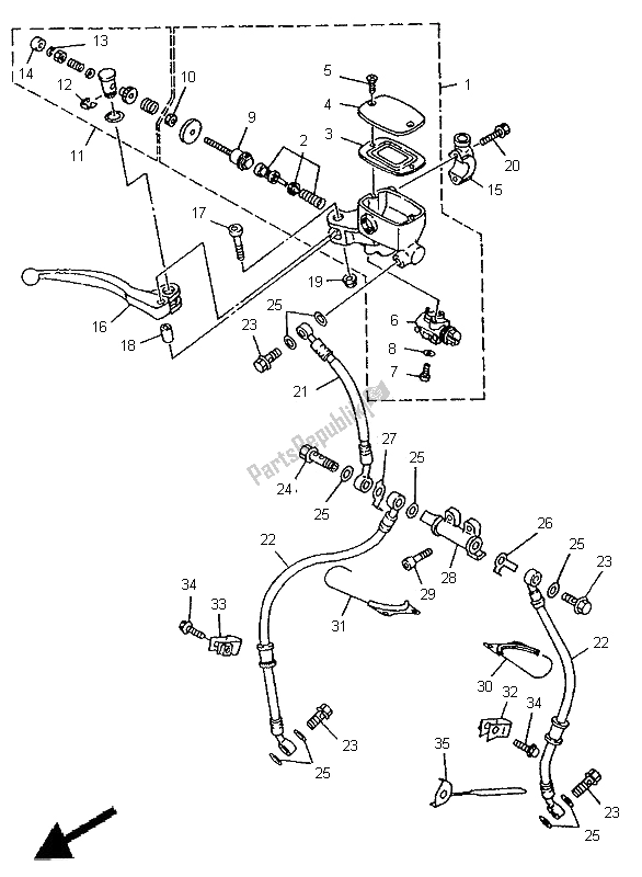
4KMW25870000
MASTER CYLINDER SUB ASSY4TXW25870200
MASTER CYLINDER SUB ASSY4BHW00410000
CYLINDER KIT, MASTER4BHW00411000
CYLINDER KIT, MASTER3YX258540000
DIAPHRAGM, RESERVOIR4TX258520100
CAP, RESERVOIR3YX258520000
CAP, RESERVOIR987070401200
SCREW, FLAT4BH839800000
FRONT STOP SWITCH ASSY985060401200
SCREW, PAN HEAD985170401200
SCREW, PAN HEAD929070460000
WASHER(JF2)929060460000
WASHER(JF2)3YX258800000
ROD, PUSH953800660000
NUT(661)3YXW00910200
SCREW KIT, MASTER CYLINDER3YX258660000
CIRCLIP(2R6)990010860000
CIRCLIP(2R6)990800360000
CIRCLIP(6L5)3YX258661000
CIRCLIP(6L5)3YX2583H0000
Boot3YX258670000
BRACKET, MASTER CYLINDER3YX839220900
LEVER3YX2589F0000
BOLT, LEVER3YX258380000
SLEEVE, CALIPER956170610000
NUT, U950270603000
BOLT, SMALL FLANGE3VD258720100
3VD258740100
HOSE, BRAKE904011015900
BOLT, UNION(3GM)904011016000
BOLT, UNION904011003800
BOLT, UNION90201108J900
WASHER, PLATE902011011800
WASHER, PLATE3VD258340100
3VD258440000
42H258850100
JOINT913170602500
BOLT,SOCKET3VD261310000
3VD261320000
3EN258750000
HOLDER, BRAKE HOSE 13EN258752000
HOLDER, BRAKE HOSE 13EN258750100
HOLDER, BRAKE HOSE 12R8258760000
2R8258762000
HOLDER, BRAKE HOSE 22R8258760100
HOLDER, BRAKE HOSE 2950270602500
BOLT, WASHER BASED(4KG)90105060A000
BOLT, WASHER BASED(4KG)3VD233170000
HOLDER WIRE