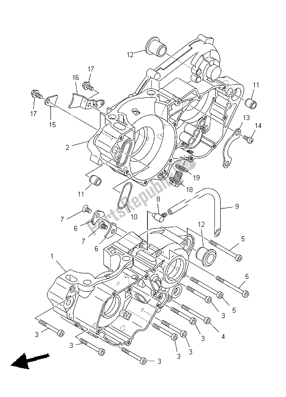
5NX151110000
cárter 15NX151110200
cárter 15NX151210000
cárter 2913170605000
perno, zócalo913170606000
perno, zócalo913170607000
perno, zócalo4JT153810100
placa, cubierta de cojinete901490632600
tornillo, avellanado901510605200
tornillo, avellanado353131150100
conector, tubo de succión904450837600
manguera (l340)904450868400
manguera (l340)5CU154540000
junta 1936121625400
pasador, clavija (4xl)903871800700
collar4L0174710000
plato, tapa901570607700
tornillo, sartén985170601200
tornillo, sartén4V4151180000
poseedor5CU151181000
poseedor5CU151180000
poseedor901050655600
perno, brida958170601200
perno, brida903401205900
tapón, tornillo recto903401200600
tapón, tornillo recto904301222700
junta (3jd1)904301220700
junta (3jd1)