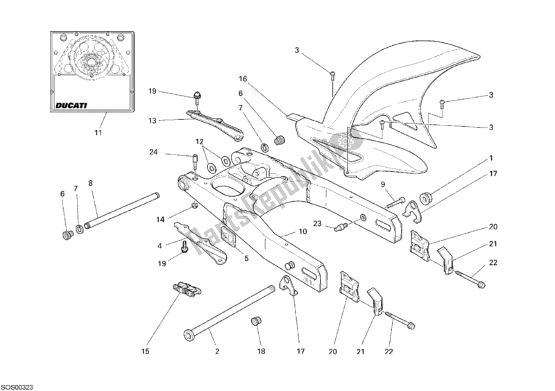
74810232b
Noce81910393A
Perno Ruota Posteriore77911191b
vite speciale69923731A
Set pattini catena alto-basso43313341A
Decalco (Serie)87210191A
spina88440071A
anello a molla36911172a
perno forcellone77151258c
vite37010282c
forcellone completo67620551a
kit di trasmissione finale85210031b
shim th 0 185210021b
shim th 0 285210011b
spessore 1 869923731A
Set pattini catena alto-basso74840341b
Noce67640184A
catena ha fatto 525hv3 102 maglie chiusa
Catena ha fatto 525hv3 102 maglie chiusa Ducati 67640184A
€ 206,33 4 - 7 Giorni lavorativi56510212a
parafango posteriore37410021b
piatto87210311a
berretto77914271a
vite37310321a
scarpa scorrevole37310331a
copertina77911101b
vite82111131a
perno di posizionamento80810461a
morsetto