19113MB1870
gomma, montaggio del radiatore32901MA1000
clip, cavo secondario33100MBA610
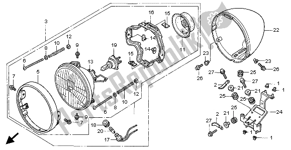
Nessuna descrizione disponibile33101MAH671
cerchione, faro33103MAH671
vite, regolazione del raggio33104MAH671
screwwasher33105MAH671
rondella33106MAH671
screwwasher33107MK7671
molla, regolazione del raggio33112MM9013
copertina, gomma33118438841
dado, regolazione del raggio33120MAH611
unità faro33128MAH671
dado, speciale33129MAH671
dado comp.33153MBC003
comp. anello, faro33170MBA610
presa comp., luce di posizione33905371601
gomma, giunto34901MC7601
lampadina, faro (12v 60 / 55w) (stanley)34901MC7602
lampadina, faro (12v 60 / 55w) (stanley)
Lampadina, faro (12v 60 / 55w) (stanley) Honda 34901MC7602
€ 48,28 3 - 5 Giorni lavorativi34903388611
lampadina, posizione (12v 4w) (stanley)
Lampadina, posizione (12v 4w) (stanley) Honda 34903388611
€ 3,94 3 - 5 Giorni lavorativi61104357000
colletto, fr. parafango61104428000
colletto, fr. parafango61301MBA000
caso, faro61304292000
collare, regolazione dei fari61311MBA000
resta, faro80112MA6000
cuscino, fanale posteriore934120502000
bolt bolt, 5x20934020502000
bolt bolt, 5x20957010602500
bullone, flangia, 6x25