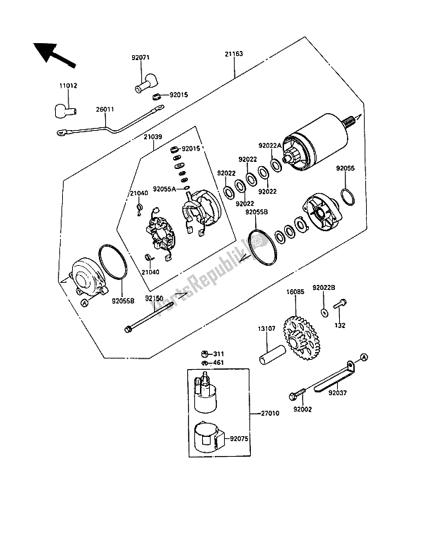
132G0612
bout-flens-klein, 6x12 zx1400132BA0612
bout-flens-klein, 6x12 zx1400311B0600ZZ
geen beschrijving beschikbaar461F0600A
veer, 6 mm zx1400a6f461DA0600
veer, 6 mm zx1400a6f110121354
kap, terminal zx750-a1131071106
as, stationair tandwiel zx900-a1160851104
versnelling stationair zx900-a1210391060
borstel, carbon kl650-a1210401055
veerborstel kl650-a1211631161
Startmotor211631212
Startmotor260111316
draadkabel motor zx1000-a1270101235
schakelaar, magnetisch zx1000-a2920011947
bout, 6x20 ex305-b2920151476
moer, 6mm kl600-b121025011
ring, stuwkracht, 0,2t z750-l1920221132
ring, stuwkracht, 0,8t z250-a3920221517
sluitring, 6x19.5x2 zx900-a1920371679
klem zg1000-a1920551381
ring-o, startmotor kl650-a1920551370
ring-o, 4.5x2.0 br250-a1920551276
ring-o kl600-b121017017
doorvoertule koord z750-l121064002
demper, magnetische schakelaar bj250le921611722
demper, magnetische schakelaar bj250le921501143
bout, motor zx1000-b1