132J0620
bout, 6x20 kaf450-b1921501010
bout, 6x20 kaf450-b1220B0616
schroefdraadkop, 6x16 gemeenschappelijk220AA0616
schroefdraadkop, 6x16 gemeenschappelijk220B0625
screw-pan-cross, 6x25 gemeenschappelijk220AA0625
screw-pan-cross, 6x25 gemeenschappelijk551A0608
pin, plug, 6x8671B2555
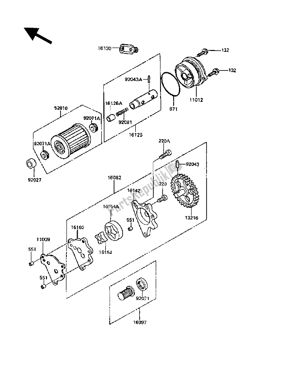
"" o "" ring, 55mm kl600-a116094009
pakking, oliepomp kl650-b3110601115
pakking, oliepomp kl650-b3110121538
dop, oliefilter kl600-a1132161110
gear-comp, oliepomp kl650-a7132161146
gear-comp, oliepomp kl650-a7160821088
Pump-Assy-Oil KL650-A1160971001
zeef, olie z250-g216156002
bolt assy oliefilter z250-g292136002
zuiger z250-g2161301001
geen beschrijving beschikbaar161421078
cover-pomp kl650-a1161541069
rotorpomp, binnen kl650-a1161541070
rotorpomp, buiten kl650-a1161601137
lichaam kl650-a116099004
Oliefilter920271695
kraag, 13x20x9 kl600-a192042041
pen, plug z750-l192043123
veerpen z250-g292071100
tule oliezeef z250-g2920711016
doorvoertule, id = 10 zx1000e8f92081043
veer, zuiger z250-g2