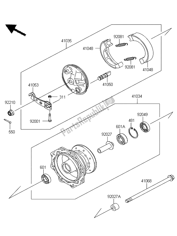
311BA0500
moer-zeskant, 5 mm gemeenschappelijk481J3500
borgring, 35mm550S2520
pin-cotter, 2,5x20 kx60-b20601B6200UU
kogellagers, # 6200uuc kx80-e1601B6300UU
kogellagers, # 6300uuc kx80-e1410341343
drum-assy, voorrem klx110-a410351543
panel-assy-brake, fr klx110-a1410481083
schoenrem kx60-b7410501031
nokkenrem kx60-a2410531027
hendel-remnok, fr kx80-e1410680015
as, fr kx60-b20920011695
bout, 5x25 kx80-e1920271470
kraag, voorste trommel, l = 5 kx80-e1920271472
kraag, vooras, l = 1 kx80-e1920490052
seal-olie, dd20x35x7 an125d7f920811564
veer, remschoen KX80-E1922100276
moer, slot, flens, 10mm zx1400a6