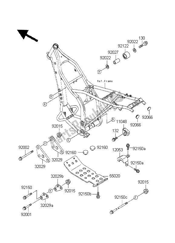
130G0840
boutflens kx65a6f130CA0840
boutflens kx65a6f132G0612
bout-flens-klein, 6x12 zx1400132BA0612
bout-flens-klein, 6x12 zx1400110481223
beugel, luchtfilter, lw klx250-d120531314
geleideketting klx250-h4120530001
geleideketting klx250-h4320291887
beugel-motor, kop, r klx250-d320291886
beugel-motor, kop, l klx250-d320291855
beugel-motor, fr klx250-d1550201456
beschermkap, motor klx250-d1920011499
bout, 10x44 kdx250-b2920021674
bout, 10x90 kx80-g1922101080
moer zx900-b4920151502
moer zx900-b4920221561
sluitring, 8,5x20x1,6 z440-d6920271670
kraag, kettingrol KDX200-A2920661034
plug, frame-einde z1300-a3921221153
rol, kettinggeleider kx125-f1921501642
bout, met flens, 10x120 klx250-d1921501435
bout kdx125-a1921501505
bout zx750-h2921501340
bout zx750-h2921501925
bout, met flens, 8x42 kl650-c1921501168
bout, met flens, 8x42 kl650-c1921601396
demper, motorbescherming klx250-d1