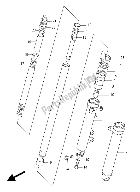
5113001DA0
buis, buitenste r5114001DA0
buis, buitenste l5116701D00
metaal, voorvorkschuif5115849500
onderlegring5115326F00
zeehonden olie5115640301
borgring, vorkolie5117326F00
zegel, stof5111001D60
buis, binnen5112101D00
zuiger, fr. vork5119501D00
stuk, fr vork o5114601D00
cilinder, fr voor5119613A10
ring fr vork5117701D00
veer, vork reb5114716510
bout, vorkcilinder5114841310
pakking, vork cil0155008407
bout5117101D60
lente, belangrijkste5117201D00
onderlegring5117601DB0
afstandhouder5119201D60
ring, boven5135124D00
bout, vork5111738260
o ring5120101DA0
beschermer, voorkant5116601D80
bout rechts