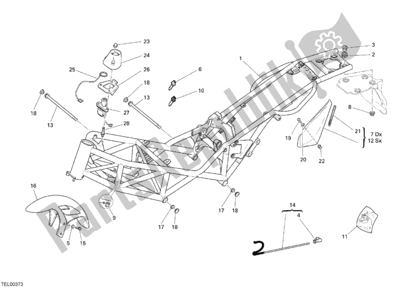
47011812cb
ramka czarna47011812cf
ramka czerwona76410291A
gumowa podkładka71614111a
odstępnik76410151b
gumowa podkładka85610421A
podkładka nylonowa59840161A
klucz z transponderem48210772a
r h panel nadwozia karbon74941118b
orzech85040671a
Zacisk59840183a
klucz bez transpondera59820301a
zestaw zamków48210782a
l h karbonowy panel77918151AA
wkręt11720491b
pręt77210631a
wkręt56410293ba
przedni błotnik czerwony56410293bt
przedni błotnik w kolorze czarnym74841011AA
nakrętka, kołnierz87210261A
czapka77510021A
śruba M5x1885611361a
pralka43611691a
naklejka ducati monster s2r100085040821a
wstawić74940021A
orzech24610602a
pokrywa51840042b
antena82712111a
płyta65240061a
Przełącznik kluczykowy77912211b
specjalna śruba