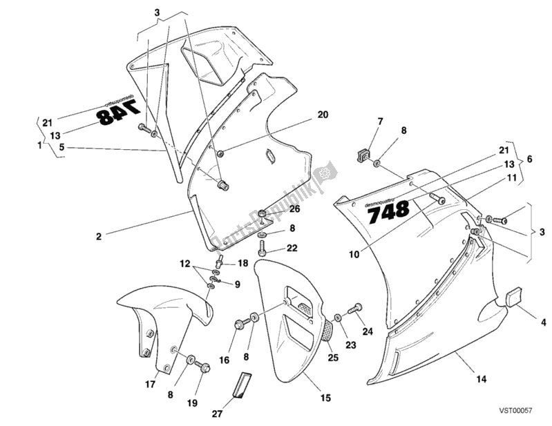
48010401ea
r h mitad superior carenado rojo48010401eb
r h mitad superior carenado amarillo48030411A
Subplateral48010411a
r h mitad inferior carenado rojo48010411ab
r h carenado medio amarillo69920721a
kit de fijación de carenado46010671a
panel negro48030401a
r h carenado medio superior sin pintar48010391eb
l h mitad superior carenado amarillo48010391ea
l h mitad superior carenado rojo85040191a
fijación quik85610421A
arandela de nylon85010031A
acortar77941671A
Tornillo Especial48030391A
Mercado Parte85210751A
lavadora43711031aa
pegatina 748 rojo43711031ab
pegatina 748 amarillo48030421b
l h carenado medio inferior sin pintar48010421bb
l h carenado medio amarillo48010421ba
l h mitad inferior carenado rojo48410192a
colector de aire rojo48410192ab
colector de aire amarillo48430192a
colector sin pintar77250968b
tornillo56410181a
guardabarros delantero rojo56410181ab
guardabarros delantero amarillo56430181a
guardabarros delantero sin pintar73640131B
remache de corte77210601a
tornillo76410171a
amortiguador de vibraciones43711151a
stickerdesmoquattro gris43711011ab
stickerdesmoquattro amarillo77210601a
tornillo85212511a
lavadora722370974
tornillo penetrante46010601a
red005691050
nuez52910111A
reflector reflejo ámbar