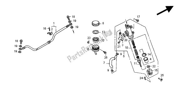
43310MY5G31
tubo flessibile comp., rr. freno52114KY1000
morsetto, tubo flessibile del freno43503MR7006
connettore43504MB2006
boot comp.43510MY5731
cilindro sub assy., rr. maestro43511MR7016
tazza comp., olio43512KBV003
tubo flessibile, rr. pompa freno43513MY1006
tappo, coppa dell'olio43514KS6701
fascetta, tubo flessibile olio pompa freno
Fascetta, tubo flessibile olio pompa freno Honda 43514KS6701
€ 15,75 3 - 5 Giorni lavorativi43520MJ6305
set pistone, cilindro maestro43520MJ6315
set pistone, cilindro maestro43530MN4006
asta comp., spingere45520300000
diaframma45521MJ6006
piatto, diaframma46182500013
anello di sicurezza
Anello elastico, cilindro principale Honda 46182MZ0760
€ 4,36 3 - 5 Giorni lavorativi46504KV6702
giunto, asta del freno90105MY9000
bullone, flangia, 6x1890118ML7000
bullone, presa, 6x2090145GBY910
bullone, olio, 10x2290145MY5H20
bullone, olio, 10x2290545300000
rondella, bullone dell'olio91212422006
oring, 14,8x2,4938930401207
screwwasher, 4x12938930401217
screwwasher, 4x1294002080000S
dado esagonale, 8mm9405006080
dado, flangia, 6mm9420120120
pin, diviso, 2.0x129501554000
perno d, giunto957010601400
bullone, flangia | 6x14