89010MCB610
set di attrezzi9900213500
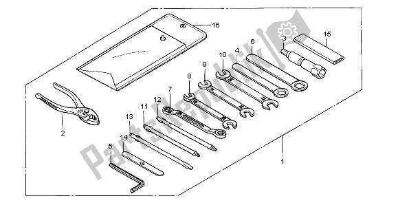
pinze, 13589210GBJJ10
pinze, 135 (kowa)89210GBJJ00
pinze, 135 (riken)89216MJ1000
chiave inglese, spina89218MF5000
chiave inglese, occhio, 17mm89221429000
chiave esagonale, 5mm89223MM9000
chiave inglese, occhio, 24mm89227461000
chiave inglese, occhio, 10x129900108120
chiave inglese, 8x129900110120
chiave inglese, 10x129900114170
chiave inglese, 14x179900310000
driver 1, più vite (n. 2)9900320000
driver 2, più vite (n. 3)9900330000
driver 3, meno vite (n. 2)9900340000
leva9900612000
impugnatura, chiave per gli occhi, 12mm
Impugnatura, chiave per gli occhi, 12mm Honda 9900612000
€ 10,31 3 - 5 Giorni lavorativi9900802000
Borsa, strumento89101ME5670
Borsa, strumento