0015080603
vite da collo hh m 8x60 ws = 1054603060144
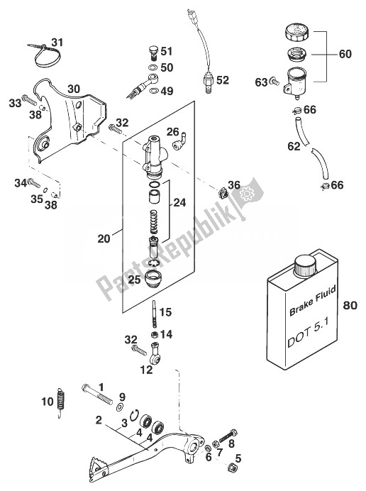
leva freno a pedale cpl. 250'910472022150
anello di sicurezza din0472-22x1,50625006087
orso a sfera scanalato. 608 2rs c354310086000
nessuna descrizione disponibile al momento12011016000
rondella 6 x 12 x 30934060003
dado esagonale din 934 m60933060353
hh vite din0933-m 6x350125080003
rondella din 125 a -8,454603062000
molla di ritorno per leva freno54603069000
testa girevole m6 freno a pedale lev.
Testa girevole m6 freno a pedale lev. KTM 54603069000
€ 20,57 4 - 7 Giorni lavorativi0934060003
dado esagonale din 934 m654603068000
asta di pressione in alluminio 250 '90
Asta di pressione in alluminio 250 '90 KTM 54603068000
€ 13,43 4 - 7 Giorni lavorativi54513101044
cilindro principale del freno '8954513150000
kit riparazione pistone 13mm54513151000
manicotto in gomma54513155000
pezzo angolare54613038000
nessuna descrizione disponibile al momento4401107620004
fascetta per cavi 200 / 4,8 mm arancione0015060203
vite da collo hh m 6x20 ws = 80015060253
vite da collo hh m 6x25 ws = 80015050203
vite da collo hh m 5x20 ws = 850233041000
coppia di rondelle m 6 nordlock50235033300
supporto dado a scatto m6 kp14258011039000
boccola distanziale 6,5 x 8 x 742013026000
anello cu-seal din7603-10x16x1,542013226000
anello cu-seal din7603-10x16x150213025000
vite cava m10x1x1950311051100
interruttore luci freno posteriore '98
Interruttore luci freno posteriore '98 KTM 50311051100
€ 40,11 4 - 7 Giorni lavorativi54513030044
serbatoio liquido freni '8958007016101
tubo per serbatoio 6x1,50014060103
vite da collo hh m 6x10 p = 858007017000
ydnac clamp 10101 (10,4mm)306054
punto liquido freni 4.0