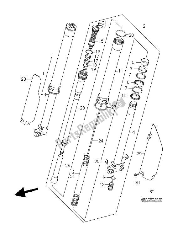
5110337FC0
damper assy, r5110437FC0
damper assy, l5111037FC0
tubo interno5112037FC0
tubo interno, lh5112136F00
cespuglio, scivolo5116736F00
bussola, guida5115836F00
distanziatore, sigillo5115337F80
olio di foca5115627C40
anello, paraolio5117337F80
sigillo, polvere5113037FC0000
nessuna descrizione disponibile al momento5117137FC0
molla anteriore5117037FC0
bullone, Centro5117736E20
o ring5135137FC0
.bullone. forchetta5111737F80
o ring5112328E30
boccola, bullone scorrevole5117436E40
o ring5117537F80
o ring5111837F80
o ring5135736F20
bullone, la spina5135828E30
o ring, spina5119037FC0000
nessuna descrizione disponibile al momento5119136F40
asta, spinta5132837F80
bullone5119837F80
collare, molla5121137FC0
anello stopper5150137F70
protettore, fronte5151137F70
protettore, fronte0910306256
bullone, scarico va5117137FE0
fronte a molla5117137FD0
fronte a molla6866129F00DPZ
emblema "" suzuki ""