130C0610
met flens, 6 x 10 gemeenschappelijk130BB0610
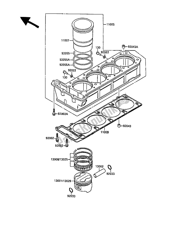
met flens, 6 x 10 gemeenschappelijk110051430
cilindermotor zx1000-a1110071076
liner-cylinder zx1000-a1110091505
pakking, cilindervoet zx1100-c1110091847
pakking, cilindervoet zx1100-c1130011197
zuigermotor, std zx1000-a1130021058
pin-piston zx1000-a1130081066
ring-set-zuiger, std zx1000-a1130251065
geen beschrijving beschikbaar130291132
zuigermotor l, o / s 0 zx1000-a920011899
bout, 6x38 zx900-a1920021138
bout, 6x30 zx900-a1920223042
sluitring js650-a2920331099
ring-snap, 18mm zx1100-a1920431264
pin, plug, 8,2x10x14 en450-a1920431279
pin, 11,5x14x14 zl900-a1920551229
ring-o, 78mm zx900-a1920551247
ring-o kl250-d2