180C0612
bolt-upset-ws gebruikelijk180BB0612
bolt-upset-ws gebruikelijk186B0630
bolt-upset-wp gemeenschappelijk186AA0630
bolt-upset-wp gemeenschappelijk140081035
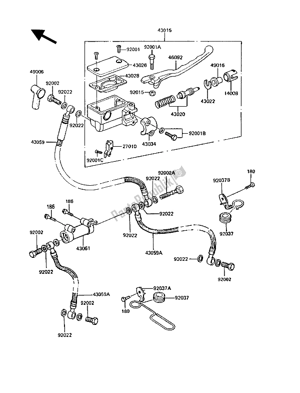
voering, zuiger z750-r1270101056
schakelaar, rem z750-r1430151146
geen beschrijving beschikbaar430201032
geen beschrijving beschikbaar430221009
stop-rem, zuiger z750-r1430261018
geen beschrijving beschikbaar430281029
membraan, master cyli z750-r1430341013
geen beschrijving beschikbaar430591503
slangrem, fr z550-g9430591977
slangrem, fr z550-g9430591506
geen beschrijving beschikbaar430611002
gewricht, voorrem hos z1000-k1460921026
hefboomgreep, hoofdcilinder Z750-R1490061067
laars, stof z1100-b2490161041
dekselafdichting, rempistool Z750-R1920011055
schroef, verzonken hed z750-l1920011512
geen beschrijving beschikbaar920011513
geen beschrijving beschikbaar920011532
verzonken schroef kx125-b1921530628
bout, olie, l = 37 zr750-j1h920021909
bout, olie, l = 37 zr750-j1h921530627
bout, olie, l = 23 zr750-j1h920021888
bout, olie, l = 23 zr750-j1h920151191
moer, slot, 6 mm EJ650-C5922100006
moer, slot, 6 mm EJ650-C543067001
afdichtring, 10,1x14,5x1. kaf95490910001
afdichtring, 10,1x14,5x1. kaf9543064007
demperrubber z750-l1920371297
geen beschrijving beschikbaar920371298
klem, remslang, rechts, b z750-r1