410B1400
sluitring-vlak-klein, 14mm ex250k410AA1400
sluitring-vlak-klein, 14mm ex250k481J3500
borgring, 35mm550D3025
pin-cotter, 3.0x25 gebruikelijk550AA3025
pin-cotter, 3.0x25 gebruikelijk601B6202UG
lager, kogel, # 6202uc3 ke175-d3601B6202U
lager, kogel, # 6202uc3 ke175-d3601B6203UG
geen beschrijving beschikbaar110121594
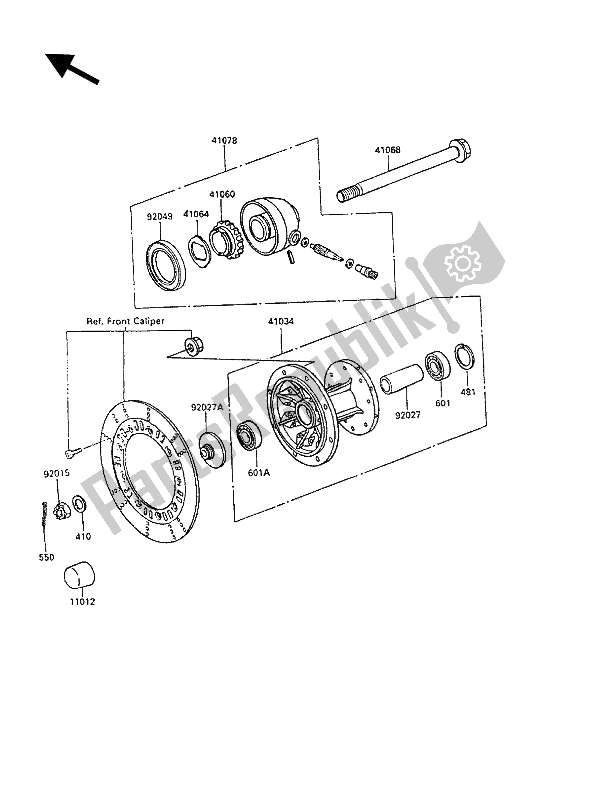
dop kl650-a1410341128
drum-assy, voorrem kl250-d2410601101
versnellingsmeter schroef, 24t kl600-a1410641051
ontvanger-snelheidsmeter kl600-a1410681236
as, fr kl650-a1410781051
case-assy-meter versnelling kl600-a142045020
moer, kasteel, 14 mm kr150-a1920151765
moer, kasteel, 14 mm kr150-a1920271683
kraag, voorrem dr kl600-a1920271864
kraag, vooras kl250-d2920491172
seal-olie, metertandwiel c kl600-a1