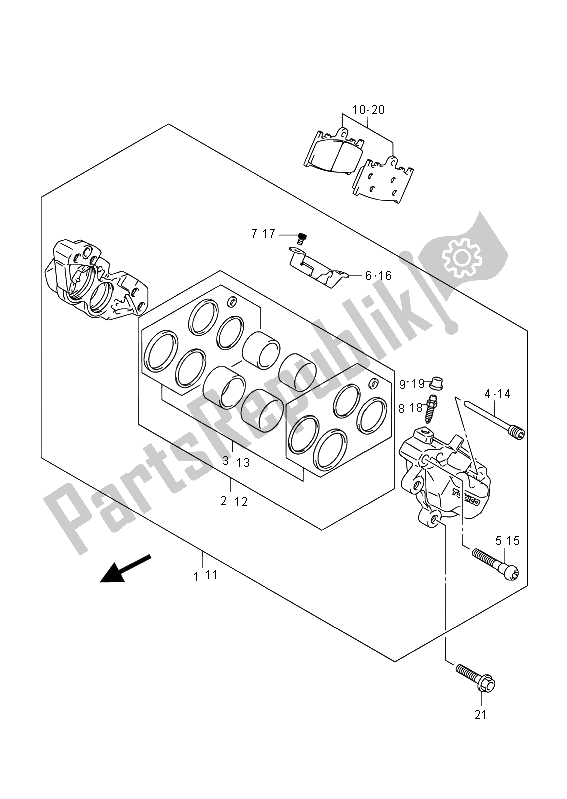
5910035F60999
remklauw, fr5930034811
zuiger set5930034821
afdichtset, zuiger5914140F00
pin pad5914518G00
bout5915235F00
deksel, remklauw d5915322D00
schroef5912118410
adempauze5515666310
dop, rem ontlucht5910135810
Remblokken5930035F60999
remklauw, fr5930034811
zuiger set5930034821
afdichtset, zuiger5914140F00
pin pad5914518G00
bout5915135F00
deksel, remklauw d5915322D00
schroef5912118410
adempauze5515666310
dop, rem ontlucht5910135810
Remblokken0910308359
bout, voor cali