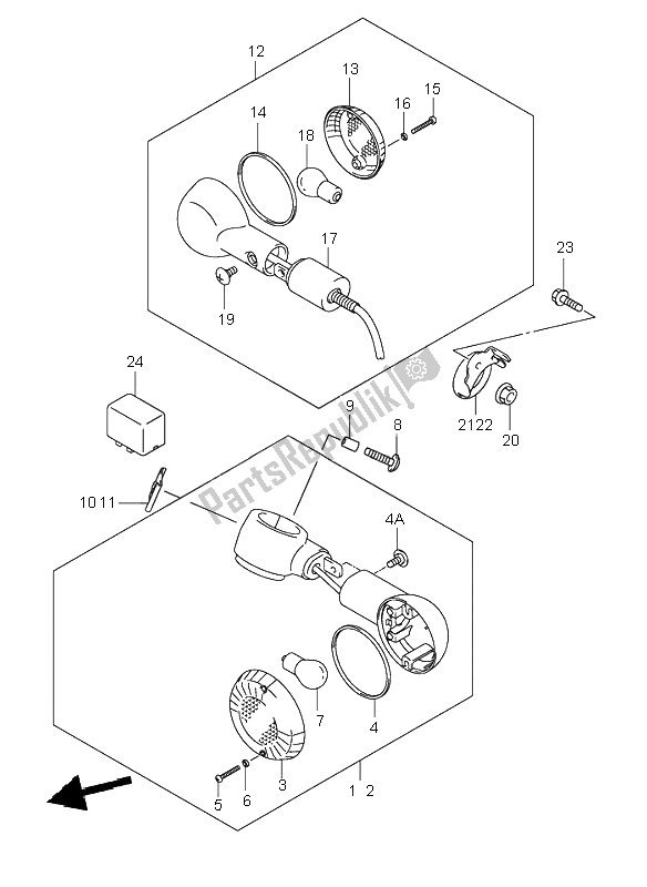
3560126F30
lamp, richtingaanwijzer. r3560226F30
lamp, richtingaanwijzer. l3561238A01
lens, voorkant3561338A00
pakking, lens3562338A01
schroef0321104253
schroef032110425B
schroef3562743010
pakking, draai sig0947112045
geen beschrijving beschikbaar0913606126
schroef, tank brkt0918006121
afstandhouder3567126F00000
geen beschrijving beschikbaar op dit moment3568126F00000
geen beschrijving beschikbaar op dit moment3560333D60
lamp, rr turnig3565238A21
lens achter3561338A00
pakking, lens0321104253
schroef032110425B
schroef3562743010
pakking, draai sig3565945C10
blijf, seinlamp0947112045
geen beschrijving beschikbaar3562338A01
schroef083161010A
moer0831610103
moer3562126F00
beugel achter tu3564126F00
beugel achter tu0155006203
bout015500620A
bout3861003F00
relais, draai