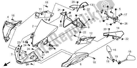
61304KRY900
gumowe, mocowanie osłony reflektora64110KPPT00
ekran, wiatr64200KTYM00ZA
zestaw maskownic fr. górna (wl) * typ1 * (typ1)64210KPPT00ZJ
maska, r. fr. boczny * NH196 * (NH196 Ross biały)64216GJ2730
guma, ustawienie ekranu64220KPPT00ZJ
maska, l. fr. boczny * NH196 * (NH196 Ross biały)64221KPPT00
zostań komp., fr. kaptur górny64260KPPT00
maska, fr. wewnętrzny64261KPPT00
brak opisu w tej chwili64262KPPT00
brak opisu w tej chwili64270KPPT00
maska, r. boczna wewnętrzna64280KPPT00
maska, l. boczna wewnętrzna64460KPPT00
pokrywa, r. czołg64470KPPT00
pokrywa, l. czołg88110KPPT01
zespół lustra., r. z powrotem88120KPPT01
zestaw lusterek., l. z powrotem88201KPPT00
gumowe, tylne lusterko90116KWT900
nit wciskany 7mm90130KPPT00
śruba, nasadka, 6x1390132KPPT00
śruba, patelnia, 6x1090134KPPT00
śruba, patelnia, 5x1490666SDAA01
klips, zatrzask (po) (naturalny)90677KANT00
nakrętka, klips, 5mm9390324380
śruba, gwintowana, 4x12958010803200
śruba, kołnierz, 8x3290443KTM970
nakrętka, nasadka, 8mm