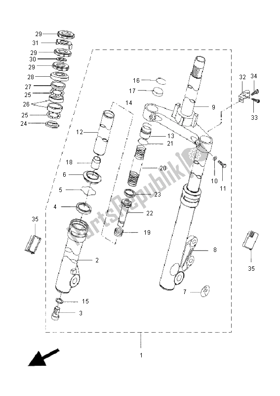
5WWF31000000
Brak dostępnego opisu5WWF31360000
Brak dostępnego opisu5WWF318100
brak opisu w tej chwili4TDF31450000
uszczelnienie olejowe5WWF31560000
zacisk uszczelki olejowej5WWF31440000
Pył uszczelniającyNU6231080000
Brak dostępnego opisu5WWF31260000
Brak dostępnego opisu5WWF33400000
pod wspornik komp.5WWF31120000
kołpak spryskiwacza5WWF33940000
śruba specjalna5WWF31100000
dętka comp15WWF31110000
zaślepka śruby5WWF31830000
pierścień zabezpieczający5WWF31650000
podkładka filcowa5WWF31530000
pierścień zatrzaskowy5WWF31540000
wtyk dętki5WWF31730000
stożek wrzeciona5WWF31510000
sprężyste odbicie5WWF31410000
sprężynowy przedni widelec5WWF31470000
o-ring5WWF31710000
przedni widelec tłoka5WWF31570000
pierścień tłokowy22F234140100
wyścig, piłka 422F2341E0000
ustalacz, łożysko kulkowe22F234120100
wyścig, piłka 222F234110100
wyścig, piłka 13VP234160000
okładka, wyścig piłek 29017925X0000
orzech9020226X0000
podkładka, gładka5DSF34180000
podkładka, specjalna5WWF58870200
uchwyt na przewód hamulcowy9015705X1000
śruba z łbem stożkowym9010906X0900
śruba9010906X0500
śruba5HEH51110000
reflektor