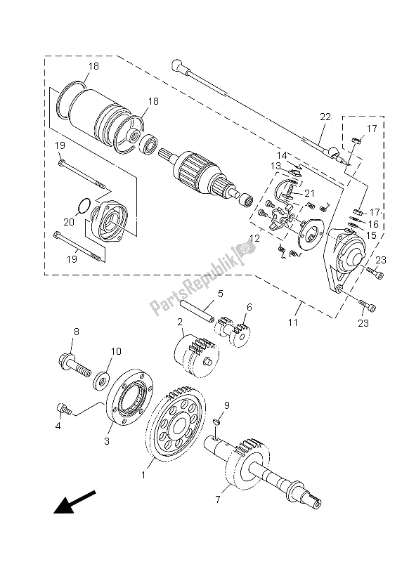
1D7155150000
bieg 31D7155601000
zespół amortyzatora4WM155900000
rozrusznik jednokierunkowy komplet901100805300
śruba, gniazdo913170801600
śruba, gniazdo1D7155210000
wał 11D7155120100
bieg, bieg jałowy 11D7156590000
wał901051200500
śruba, podkładka902800504800
klucz, marzanka902800500100
klucz, marzanka902011200800
podkładka, talerz1D7818901000
zespół silnika2S3818010000
zestaw pędzli2S38182G0000
tuleja, zacisk932100642200
o-ring (26h)932100663200
o-ring (26h)8FA8181L0000
nieznany1D7818350000
pralka9538R0670000
orzech953020670000
orzech1D7818610000
uszczelka8FA818460100
wkręt932102571100
o-ring (1rl)2S3818280000
śruba 21D78183G0000
przewód komp.913140602500
śruba z łbem gniazdowym