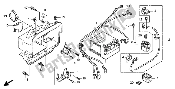
31500KW3676P
bateria ytx7l-bs31500KW3677
bateria ytx7l-bs31500GGP901
bateria ytx7l-bs32401KRJ760
nenhuma descrição disponível no momento32406KCW850
nenhuma descrição disponível no momento32413KRJ760
nenhuma descrição disponível no momento32610KRJ790
nenhuma descrição disponível no momento35850MR5007
interruptor de solenóide35856KAB000
borracha, choque50325KRJ790
nenhuma descrição disponível no momento50327KRJ790
nenhuma descrição disponível no momento50340KRJ760
nenhuma descrição disponível no momento90111MR5000
parafuso, soquete, 5x990111187000
parafuso, flange, 6 mm90649SC2003
banda, chicote de fios (natural) (150 mm)90677KAN961
porca, clipe, 5 mm90677KANT00
porca, clipe, 5 mm91503ZY1300
colarinho, 6,5x11x10934040602008
lavadora de parafusos, 6x209390335210
parafuso, rosqueamento, 5x12957010601600
parafuso, flange, 6x169820033000
fusível, lâmina (30a)