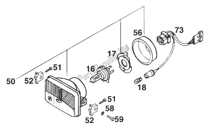
57111038000
lâmpada h4 12v 60 / 55w (p43t)49011436000
nenhuma descrição disponível no momento50211510000
farol cev 394 '930981350163
sheet metal.scr.din 7981- 3,5x1658414010000
suporte farol '9850211537000
boné de borracha0797060003
arruela dentada. din 6797-a 6,40933060203
hh parafuso din0933-m 6x20