3P6W251600P0
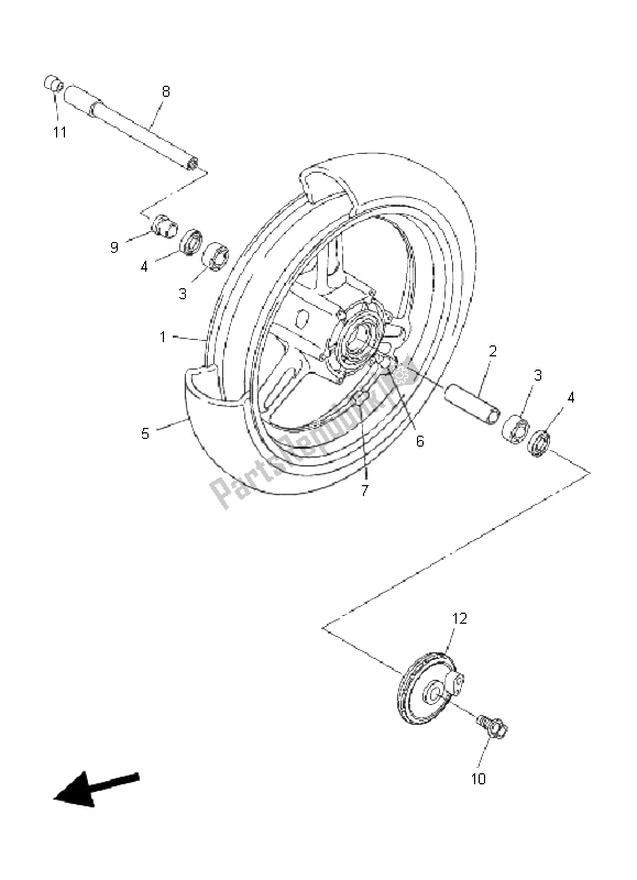
roda fundida, dianteira3P62516801P0
roda fundida, dianteira4XV251170000
espaçador, rolamento933060042000
rolamento 60/22931062804300
selo de óleo941121710100
pneu (120/70 zr17 58w)939000003000
válvula, aro (2gh)5MT253982000
balanceador, roda5MT253981000
balanceador, roda5MT253980000
balanceador, roda2C0251810000
eixo, roda903872200T00
colarinho903872201600
colarinho901051400200
parafuso, flange5PW251880000
boné3P62517A0000
invólucro, frente do sensor