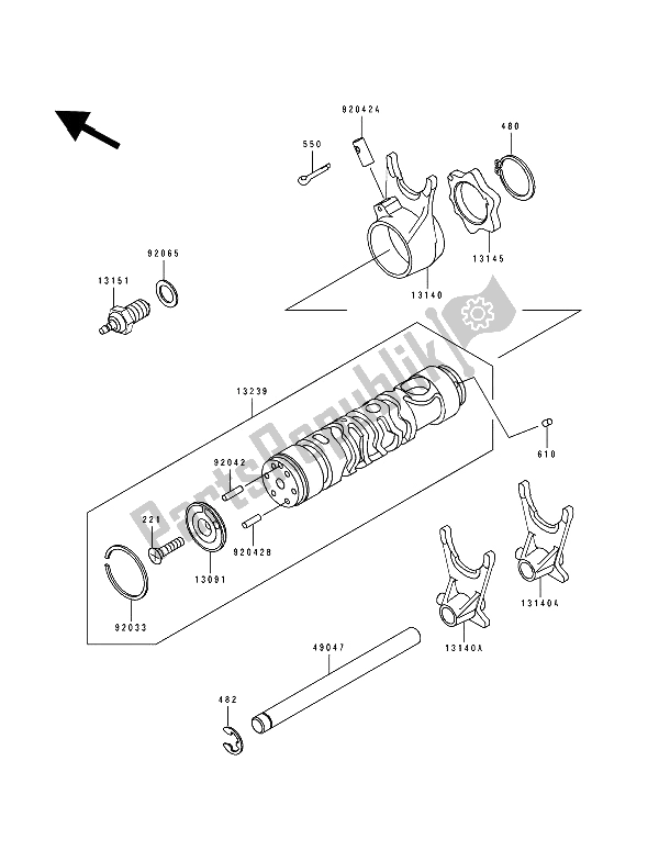
221B0620
SCREW-CNTSNK HD,6X20 COMMON221AA0620
SCREW-CNTSNK HD,6X20 COMMON480J3000
Circlip,30mm482J0100
CIRCLIP,10MM COMMON550AA3020
PIN-COTTER,3.0X20 COMMON550D3020
PIN-COTTER,3.0X20 COMMON610A0406
PIN-DOWEL,4X6130911104
HOLDER,CHANGE DRUM PI Z750-L1131401016
SHIFT FORK,GEAR SHIFT Z500-B3131401062
FORK-SHIFT,OUTPUT ZR550-A1131451058
CAM-CHANGE DRUM ZX600-A2131511080
SWITCH-COMP,NEUTRAL EX500-F2132391119
DRUM-ASSY-CHANGE ZR400-G1132391196
DRUM-ASSY-CHANGE ZR400-G1490471069
ROD-SHIFT Z550-G392033035
CIRCLIP, 37MM Z750-L192042014
PIN-GEAR CHANGE DRUM Z750-L192042021
DOWEL PIN,8X18 Z750-L192042030
PIN,GEAR CHNGE DRUM Z750-L192065058
GASKET, 10,5X16X1 KH100-G2