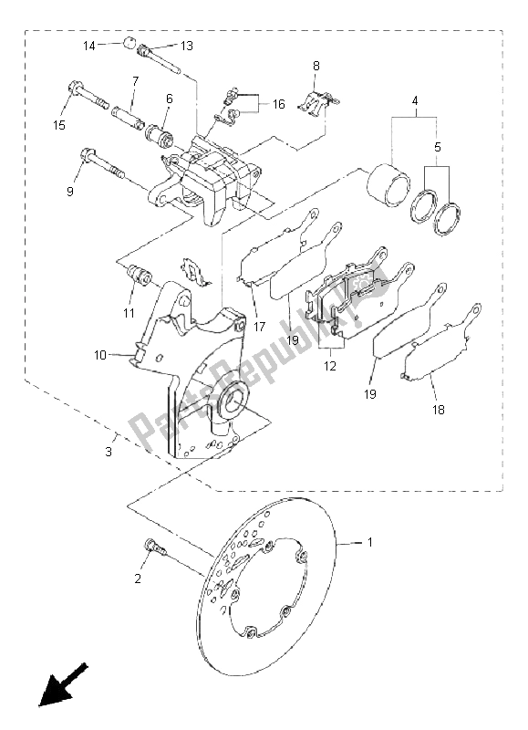
2D12582W0000
Remschijf achter901490800900
Screw901490801000
Screw5D02580W0000
CALIPER ASSY, REAR 25SLW00570000
PISTON ASSY, CALIPER5SL258020000
PISTON ASSY, CALIPER5SL258030000
CALIPER SEAL KIT5SLW00470000
CALIPER SEAL KIT5SL259170000
BOOT, CALIPER5SL258380000
SLEEVE, CALIPER5SL259190000
SUPPORT, PAD5SL259140000
PIN, SLIDE5D0259215000
BRACKET, SUPPORT3JD259170000
BOOT, CALIPER5VXW00460000
BRAKE PAD KIT 25VX258060000
BRAKE PAD KIT 28CR259240000
PIN, PAD5DH259160000
Plug5SL259260000
Bolt8CRW00480000
BLEED SCREW KIT5SL258270000
SHIM, CALIPER5SL258271000
SHIM, CALIPER5SL258280000
SHIM, CALIPER5SL258280100
SHIM, CALIPER