1B2F72000000
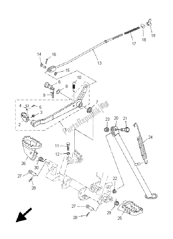
PEDAL, BRAKE1B2F72420000
PEDAL, BRAKE905081435200
SPRING, TORSION (1W2)917010602200
PIN, COTTER (1W2)914902001500
PIN, COTTER (648)914012001200
PIN, COTTER (648)5RMF72610000
902011013500
WASHER, PLATE(52H)90201105J400
WASHER, PLATE(52H)902061400100
WASHER, WAVE904682019600
CLIP(4KB)905061637200
SPRING, TENSION(56A)9700M0601600
Bolt9530M0670000
Nut1B2F72311000
ROD, BRAKE1B2F72310000
902400680400
PIN, CLEVIS9290M0620000
WASHER(6TA)929070620000
WASHER(6TA)914902001500
PIN, COTTER (648)914012001200
PIN, COTTER (648)905011024500
SPRING, (180-27236-00)902491200800
PIN 1562723700901750601309
NUT (25K)901790641100
NUT (25K)1B2F73111000
STAND, SIDE1B2F73110000
901011080500
Bolt901011000300
Bolt903871000300
COLLAR901851003700
NUT, U905063547400
SPRING, TENSION(4BF)1B2F74110000
FOOTREST 11B2F74210000
FOOTREST 2902401011700
PIN, CLEVIS(2HJ)914012501500
PIN, COTTER914902502000
PIN, COTTER905082877700
SPRING, TORSION(3JD)90508284A700
SPRING, TORSION(4GY)